2016年10月 記事一覧
2016/10/31
『家族の絆を育む家』進捗報告です!
☆ Happy Halloween ☆

ハロウィン直前の週末、渋谷では一部の道路を歩行者天国にして盛り上がっていたようです。
今年一番多い仮装は「マリオ」だそうですよ!! 仮装でハロウィンパーティー♪楽しそうですね(^^)
さて、今日は『家族の絆を育む家』よりお伝えします。

こちらは、2階のインナーバルコニー部分です。
屋根付きのバルコニーですので、洗濯物を干していても安心ですね。

こちらは2階のロフト付のお部屋です。
片流れの屋根形状を利用して、ロフトが設けられています。

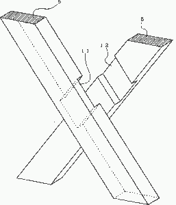
そして、こちらは階段に使われる部材です。
『家族の絆を育む家』では、現場で大工さんが造り上げる造作階段となっています。
リビング階段を採用していますので、常にご家族の気配を感じあえる素敵な間取りです(^^)

2016/10/28
M様邸リフォーム工事 ②
高松サンポートで行われている『さぬきマルシェ』はご存知ですか?
作り手のこだわりと想い、讃岐の食の魅力を伝える市場というコンセプトで2011年から開催されています。
30日には『スタイリッシュ×ガレージハウス』の完成内覧会でもお世話になりました、ドリンクトレーラー『Mocktail』さんが初出店するそうです(^^)
旬の野菜や果物なども並んでいるそうなので、イベントスケジュールは要チェックですね!
詳しく知りたい方は コチラ からどうぞ!!
さて今日も昨日のブログに続きまして、M様邸のリフォーム工事のようすをお伝えします。

新しい梁に交換され、筋交い部分も太い化粧筋交いに変わりました。

この筋交い部分ですが、相欠き(あいがき)という木材の継手の方法です。

角材を互いに半分ずつ欠きとって、切り取った部分を接着剤や釘などで繋ぐ方法です。
互いに半分ずつ欠き取るので、交差している部分は部材の寸法と同じ厚さに納まります。

この矢印の部分には補強金具が入っています。
金具の穴を挿し木で埋めていきます。



穴に埋めた埋め木をカットして、やすりで削って平らに仕上げていきます。

このような全ての工程は、現場で大工さんが作業しています。
大工さんの腕がいいので取り合わせがきれいに納まっていますね(^^)
梁や筋交いを抜き替え、階高も20センチほど高くなりました。
今後どのように変化していくのか楽しみですね!!

2016/10/27
M様邸リフォーム工事
国営まんのう公園ではコキアがきれいに紅葉しているそうですヨ!!
コスモスもシーズンを迎えているようです。週末のお出かけに良さそうですね(^^)

さて今日は、リフォーム工事中のM様邸よりお伝えします。

もともとロフトがあった部分です。
古い梁や筋交いなどを新しい木材に抜き替えることになりました。

木材のプロ、Aさんにしっかり調査していただているところです(^^)
新しい筋交いには、見えてもいいように化粧材を使います。
また明日、施工のようすをお伝えしますのでお楽しみに!!

2016/10/26
『テラスを囲むHIRAYAの家』造作工事のようす。
10月もはや後半に突入です。
最近ではハロウィンのイベントが年々派手になってきているようです。
小さなお子様のカワイイ仮装姿を見るといくらでもお菓子をあげたくなっちゃいますね♡
さて今日も『テラスを囲むHIRAYAの家』より工事の様子をお伝えします!!

先日より、外装工事の様子をお伝えしてきましたが、内部の方もどんどん進んでいます。

キッチン廻りをパネルで囲んでいきます。
汚れがふき取りやすくお手入れ簡単なキッチンパネルはサンワカンパニーさんのアイテムです。
ブラックが空間を引き締めてくれてカッコイイんです!!

続いてキッチン本体も設置されました。
オールステンレスのシステムキッチンはブラックのパネルとの相性抜群です。


こちらは和室の造作工事中です。
棟梁が床柱の加工をしているところです。

和室の大黒柱に鴨居が取り付けられました。
ほぞ穴に鴨居を差し込みさらにボルトで鴨居と柱を固定しています。

よく目立つところなので慎重に作業を進めています。

外回りの床タイルの施工も始まりました。
これは下地のコンクリートを打つ前の状態です。

少しづつ完成に近づいてきましたヨ!!

2016/10/25
『ブラック×レッドシダーの家』電気のお打ち合わせ
なんだか蒸し暑いと思ったら…雨が降ってきました。
相変わらずの気温差ですね(-_-;)
さて、今日は『ブラック×レッドシダーの家』より工事の様子をお伝えします!!

現在、床材のフローリングの施工に入りました。

床材に使われているのは、大建工業さんのハピアフロア(色:ダルブラウン)です。
傷や汚れ、日焼けなどに強いため、お手入れも簡単なフローリングです。

そして、この日は現地にてお施主様との電気関係のお打ち合わせをさせていただきました。
設備屋さんにも同席していただき、適切なアドバイスをしてもらいながら、照明器具やコンセント、スイッチの取付位置などを決めていきました。
最近は、オシャレな照明器具もお手頃な価格で揃っているので、たくさん悩んでお気に入りの物を選んでいただいています(^^)
これは注文住宅ならではの特典の一つでもありますよね!!









